■問題PDF
令和7年度_学力検査問題過去問【沖縄】- 数学
■目次
大問1
大問2
大問3
大問4
大問5
大問6
大問7
大問8
大問9
大問10
■大問1
次の計算をしなさい。
1-1:4 – 11
解答 :-7
解説 :4 – 11 = -(11 – 4) = -7
1-2:(- 10) ÷ 2/5
解答 :-25
解説 :(- 10) ÷ 2/5 = (- 10) × 5/2 = -50/2 = -25
1-3:(- 2.3) + 4.1 (小数で答えなさい。)
解答 :1.8
解説 :(- 2.3) + 4.1 = – 2.3 + 4.1 = 4.1 – 2.3 = 1.8
1-4:3√6 ÷ √2
解答 :3√3
解説 :3√6 ÷ √2 = 3√6/2 = 3√3
1-5:3a × (- 2b)²
解答 :12ab²
解説 :3a × (- 2b)² = 3a × (- 2b) × (- 2b) = 12ab²
1-6:-(5x – y) + 2(x + 2y)
解答 :-3x + 5y
解説 :-(5x – y) + 2(x + 2y) = -5x + y + 2x + 4y = 2x – 5x + y + 4y = -(5 – 2)x + (1 + 4)y = -3x + 5y
■大問2
次の[ ]に最も適する数や式、または記号を入れなさい。
2-1:1次方程式 5x – 2 = 3x + 4 の解は、x = [ ]である。
解答 :x = 3
解説 :5x – 2 = 3x + 4 → 5x – 3x = 4 + 2 → 2x = 6 → x = 3
2-2:連立方程式{ 3x + 2y = -2, x – y = 6 } の解は、x = [ ]、y = [ ]である。
解答 :x = 2,y = -4
解説 :{ 3x + 2y = -2 …①, x – y = 6 …② }とおく。
[代入法]
②より、x – y = 6 → x = y + 6 …②’
②’を①に代入して、3(y + 6) + 2y = -2 → 3y + 18 + 2y = -2 → 5y = -2 – 18 → 5y = -20 → y = -4
y = -4 を②’に代入して、x = (-4) + 6 → x = 6 – 4 → x = 2
したがって、x = 2,y = -4
※加減法でも解くことができます。
2-3:(x – 2y)(x + 2y) を展開して整理すると、[ ]である。
解答 :x² – 4y²
解説 :乗法公式を使って解く。

(x – 2y)(x + 2y) = x² – 4y²
2-4:3ax² – 2ax を因数分解すると、[ ]である。
解答 :ax(3x – 2)
解説 :乗法公式は使わず、共通因数を括りだす。
3ax² – 2ax = ax(3x – 2) よって、答えは ax(3x – 2)となる。
2-5:2次方程式 3x² – 5x + 1 = 0 の解は、x = [ ]である。
解答 :x = (5 ±√13)/6
解説 :この方程式は因数分解ではなく、解の公式で解く。

x = -(-5) ± √(-5)² – 4 × 3 × 1 / 2 × 3 → x = (5 ± √25 – 12) / 6 → x = (5 ± √13) / 6
2-6:√2と3/2の大小関係を式で表すと、[ ]である。次のア~ウから1つ選び、記号で答えなさい。
ア √2 = 3/2 イ √2 < 3/2 ウ √2 > 3/2
解答 :イ
解説 :3/2について、小数に変形すると 3/2 = 1.5 である。
1.5を根号に入れると、√(1.5)² = √2.25 とわかる。
よって、√2 < √2.25 = 3/2 なので、選択肢イが適当である。
2-7:右の図において ℓ // m のとき、∠x = [ ]°である。

解答 :∠x = 63°
解説 :図に、角度などわかる部分を書き込みながら考える。
まず、 ℓ // m より同位角は等しくなる。

また、外角の定理より、1つの外角は隣り合わない2つの内角の和となる。

したがって、∠x = 40° + 23° よって、∠x = 63° と求められる。
2-8:ある中学校の生徒6人が砲丸投げを行ったところ、下のような結果になった。この6人の砲丸投げの記録の中央値は、[ ]mである。
・・・・・・・・・・・・・・・・・・・・・・・・・・・・・・・・・・・・・・・・・
[記録] 8,7,4,5,4,9 (m)
・・・・・・・・・・・・・・・・・・・・・・・・・・・・・・・・・・・・・・・・・
解答 :6
解説 :中央値は、データを小さい順に並べたとき、ちょうど真ん中に位置する値のことである。
問題の6人のデータを小さい順に並べると、以下のようになる。
[記録(小さい順)] 4,4,5,7,8,9 (m)
よって、中央値は5と7の間にあることになる。
よって、5と7の平均を求めたらよいので、(5 + 7) ÷ 2 = 12 ÷ 2 = 6 したがって、6mとわかる。
2-9:あるアルミ工場で製造した製品から200個を無造作に抽出して検査をすると、不良品の割合が0.03と推定された。この工場で製造された製品8000個に含まれる不良品は、およそ[ ]個であると推定される。次のア~エのうち1つ選び、記号で答えなさい。
ア 240 イ 600 ウ 1200 エ 2400
解答 :ア
解説 :問題文より、製品から200個を無作為に抽出して検査したとき、不良品の割合は0.03だったことが読み取れる。この不良品の割合は、検査する製品の個数が増えても変化しないと考えられるので、8000個の製品に含まれる不良品の割合も0.03だと考えられる。
8000 × 0.03 = 80 × 3 = 240 したがって、240個だと求められる。
よって、選択肢アが適当である。
■大問3
下の図は、2017年度、2018年度、2022年度、2023年度について、沖縄県入域観光客数(国内)の月ごとの人数をそれぞれ12か月分調べ、箱ひげ図にまとめたものである。
ただし、沖縄県入域観光客数(国内)とは、沖縄県在住者を除く、沖縄県を訪れた国内客の人数のことである。また、月ごとの人数は千の位を四捨五入しており、単位は万人である。
このとき、次の各問いに答えなさい。

3-1:2018年度のデータについて、第3四分位数を答えなさい。
解答 :60
解説 :箱ひげ図より、2018年度のグラフの第3四分位数は60と読み取れる。


3-2:図から読み取れることとして、必ず正しいといえるものを、次のア~エのうちから1つ選び、記号で答えなさい。
ア 2017年度よりも2018年度の方が、データの四分位範囲が大きい。
イ 4つの年度のうち、データの平均値が最も大きいのは、2018年度である。
ウ 沖縄県入域観光客数(国内)が52万人以下の月は、2022年度よりも2018年度の方が多い。
エ 2023年度において、沖縄県入域観光客数(国内)が60万人以上の月は、6か月以上ある。
解答 :エ
解説 :選択肢アについて、2017年度の四分位範囲と2018年度のそれを比較すればよい。2017年度の四分位範囲は61 – 53 = 8。2018年のデータの四分位範囲は、60 – 53 = 7。よって、2017年度の四分位範囲の方が大きいので、選択肢アは不適当。
選択肢イは、この図の箱ひげ図からは平均値は明確にはわからない。よって、選択肢イは不適当である。
選択肢ウに関しても、この図からは読み取れない内容なので不適当。
選択肢エは、2023年度の沖縄県入域観光客数(国内)の中央値は60万人である。中央値(第2四分位数)から最大値までの間にはデータの50%が含まれるので、2023年度の沖縄県入域観光客数(国内)が60万人以上の月は6か月以上あることがわかる。よって、選択肢エは適当である。
したがって、選択肢エが適当である。
3-3:2023年度の箱ひげ図と同じデータを使ってまとめたヒストグラムとして最も適するものを、次のア~エのうちから1つ選び、記号で答えなさい。なお、50万人以上52万人未満、52万人以上54万人未満のように、階級の幅はいずれも2万人である。

解答 :ウ
解説 :2023年度の箱ひげ図より最大値は68万人、最小値は51万人なので、選択肢アとエは不適当である。


次に2023年度のデータの中央値は、箱ひげ図より60万人と読み取れる。よって、選択肢イは不適当とわかり、選択肢ウが適当だと求められる。


■大問4
右の図のような正方形ABCDがある。点Pは最初、頂点Aの位置にあり、1つのさいころを投げて、次の規則にしたがって移動する。

・・・・・・・・・・・・・・・・・・・・・・・・・・・・・・・・・・・・・・
規則1 出た目の数だけ正方形の辺に沿って、反時計回りに頂点を1つずつ移動する。
規則2 さいころを2回投げるときは、1回目に移動した場所から、続けて反時計回りに移動する。
・・・・・・・・・・・・・・・・・・・・・・・・・・・・・・・・・・・・・・
例えば、さいころを2回投げるとき、1回目に1の目が出たら、点Pは頂点Aから頂点Bに移動し、さらに2回目に2の目が出たら、点Pは頂点Bから頂点Cを通って頂点Dに移動する。
このとき、次の各問いに答えなさい。
ただし、さいころはどの目が出ることも同様に確からしいとする。
4-1:さいころを1回投げて、点Pが頂点Dの位置にある確率を求めなさい。
解答 :1/6
解説 :さいころを1回投げて点Pが頂点Dの位置にあるのは、点Pが3回動いたときである。よって、さいころの3の目が出たときの、1通りである。また、さいころの目は、全部で6通りである。

したがって、さいころを1回投げて、点Pが頂点Dの位置にある確率は1/6とわかる。
4-2:さいころを1回投げて、点Pが頂点Bの位置にある確率を求めなさい。
解答 :1/3
解説 :さいころを1回投げて、点Pが頂点Bの位置にあるのは、さいころの1の目、または5の目が出たときである。よって、2通りとわかる。また、さいころの目は、全部で6通りである。

したがって、さいころを1回投げて、点Pが頂点Bの位置にある確率は2/6 = 1/3 と求められる。
4-3:さいころを2回投げて、点Pが頂点Bの位置にある確率を求めなさい。
解答 :2/9
解説 :規則2より、「さいころを2回投げるときは、1回目に移動した場所から、続けて反時計回りに移動する。」とのことである。よって、点Pは最小で2回、最大で12回動くことがわかる。
次に、さいころを投げて点Pが頂点Bの位置にあるときは、5回または9回動いたときである。
・さいころが5回動いたとき
2回のさいころの目の組み合わせは、(1, 4)、(2, 3)、(3, 2)、(4, 1)

・さいころが9回動いたとき
2回のさいころの目の組み合わせは、(3, 6)、(4, 5)、(5, 4)、(6, 3)

したがって、さいころを2回投げて点Pが頂点Bの位置にあるのは、全部で8通りである。
2つのさいころの目の出方は全部で36通りである。
以上より、さいころを2回投げて、点Pが頂点Bの位置にある確率は、8/36 = 2/9である。
■大問5
下の図は、学校の体育館でシートの上に椅子を並べている様子である。椅子の前脚から後脚までの幅は50cmであり、椅子と椅子の間隔をa cm空けて規則的に椅子を並べていく。はじめにシートの先端から10cm空けて最初の椅子を置き、最後の椅子を置いたときに、椅子の後脚がちょうどシートの端にくるように、椅子を並べるものとする。
このとき、次の各問いに答えなさい。

5-1:下の表は、a = 40 のときの椅子の数と椅子を並べるのに必要なシートの長さの関係を示した表の一部である。
このとき、下の表の[ ]にあてはまる最も適する数を答えなさい。

解答 :330
解説 :表の[ ]は、椅子を4脚並べるときに必要なシートの長さである。
まず、図で椅子を4脚並べたときを考える。

よって、10cm + 50cm × 4脚 + 40cm × 3 = 10 + 200 + 120 = 330 したがって、330cmと求められる。
5-2:a = 40 とする。椅子の数をx脚、椅子を並べるのに必要なシートの長さをy cmとしたとき、yをxの式で表しなさい。
解答 :y = 90x – 30
解説 :a = 40 なので、椅子と椅子との間隔が40cmだとわかる。

椅子を並べるのに必要なシートの長さに関係しているのは、1脚目の椅子の前の10cmと、椅子の幅50cm、椅子と椅子との間隔の40cmである。
問1も参考にすると、1脚目の椅子の前の10cmは1つ、椅子の幅は椅子の個数、椅子と椅子との間隔は椅子の個数から1少ない数である。加えて、椅子の個数はx脚、椅子と椅子の間隔は、(x – 1)つある。
よって、y = 10 + (50 × x) + {40 × (x – 1)} → y = 10 + 50x + 40x – 40 → y = 90x – 30
したがって、椅子の数をx脚、椅子を並べるのに必要なシートの長さをy cmとしたとき、y = 90x – 30 と表せる。
5-3:長さ3180cmのシートに40脚の椅子を並べるとき、aの値を求めなさい。
解答 :a = 30
解説 :長さ3180cmのシートに40脚の椅子を並べるので、問2の式を応用して計算できる。
3180cm = 10cm + (50cm × 40脚) + {a cm × (40 – 1)} → 3180 = 10 + 2000 + a × 39 → 3180 = 2010 + 39a → 39a = 3180 – 2010 → 39a = 1170 → 39a × 1/39 = 1170 × 1/39 → a = 30 したがって、a = 30 と求められる。
■大問6
右の図のように、円周上に4点A、B、C、Dがある。弦AB、弦CDを利用して、円の中心Pを定規とコンパスを使って作図しなさい。

ただし、円の中心を示す記号をかき入れ、作図に用いた線は消さずに残しておくこと。
解答 :
解説 :まず、コンパスで弦ABの垂直二等分線をかく。点Aにコンパスの針を置いてかいた曲線と、点Bにコンパスの針を置いた曲線の2つの交点を通る直線を引くことで作図できる。
同様に、弦CDの垂直二等分線もかく。この2つの垂直二等分線の交点が、この円の中心Pである。

■大問7
雄太さんと桃子さんは、次の【宿題】について考えた。下の【会話】は、2人が話し合っている場面である。
・・・・・・・・・・・・・・・・・・・・・・・・・・・・・・・・・・・・・・・
【宿題】
右の図のように、関数 y = x² のグラフ上にx座標が-2である点Aと、x座標が4である点Bがある。y軸上にy座標が2である点Cをとったときの、△ABCの面積を求めなさい。
また、△ABCと△ABPの面積が等しくなるような点Pをx軸上にとるとき、点Pの座標を求めなさい。
ただし、原点Oから点(0, 1)、点(1, 0)までの長さをそれぞれ1cmとする。

・・・・・・・・・・・・・・・・・・・・・・・・・・・・・・・・・・・・・・
【会話】
雄太:点Aの座標はA(-2, [ ア ])になるね。同じように点Bの座標もわかるね。
桃子:2点の座標がわかったから、2点A、Bを通る直線の式が、y = [ イ ]であることが求められたよ。
雄太:直線の式がわかったから、△ABCの面積が[ ウ ]cm²になることがわかるね。
桃子:点Pの座標を求めるためには△ABCの底辺をABとしたときに、△ABCの高さと△ABPの高さが同じになるような点Pをx軸上にとればよさそうだね。
雄太:点Cを通り直線ABと平行な直線を使えば、点Pの座標が求められるね。
桃子:そうだね。点Cのほかにもy軸上に点Dをとって、△ABCの面積と△ABDの面積が等しくなるようにできるね。点Dを通り直線ABと平行な直線を使用することでも問題の条件を満たす点Pがx軸上にとれるから、宿題の答えとなる点Pは2点あるということだね。
・・・・・・・・・・・・・・・・・・・・・・・・・・・・・・・・・・・・・・
このとき、次の各問いに答えなさい。
7-1:[ ア ]にあてはまる最も適する数を答えなさい。
解答 :(2, [ 4 ])
解説 :[ ア ]は、点Aのy座標である。
点Aは、y = x² のグラフ上の点で、且つ x = -2 の点である。よって、x = -2 を代入して、y = (-2)² → y = 4 よって、[ ア ]には4が当てはまる。
7-2:[ イ ]にあてはまる最も適する式を答えなさい。
解答 :y = 2x + 8
解説 :[ イ ]については、2点ABを通る直線の式である。
問1より、点Aの座標は(-2, 4)である。点Bは【宿題】より、x座標が4である点なので、問1で点Aの座標を求めたときと同様に計算する。x = 4 を代入して、y = 4² → y = 16 よって、点Bの座標は(4, 16)と計算できる。
次に、点A(-2, 4)と点B(4, 16)の2つの点を通る直線の式を考える。
まず、一次関数の基本の式は、y = ax + b にそれぞれの点を代入する。
4 = -2a + b …①
16 = 4a + b …②
①より、b = 2a + 4 これを②に代入して、16 = 4a + (2a + 4) → 16 = 4a + 2a + 4 → 6a = 16 – 4 → 6a = 12 → a = 2。これをb = 2a + 4 に代入して、b = 2 × 2 + 4 → b = 4 + 4 → b = 8 よって、点A、Bを通る式は、 y = 2x + 8 と求められる。
したがって、[ イ ]には 2x + 8 が当てはまる。
7-3:[ ウ ]にあてはまる最も適する数を答えなさい。
解答 :18
解説 :[ ウ ]には、△ABCの面積が当てはまる。
まず、直線ABとy軸との交点をTとおく。点Tのy座標は直線ABの切片なので、直線ABの式 y = 2x + 8 より、点Tの座標は(0, 8)である。
次に、△ABCの面積を、y軸で左右2つの三角形に分けて面積を求める。

・△TACの面積について
辺TCを底辺と考えると、8 – 2 = 6 より、底辺は6cm。高さは点Aからy軸までの距離なので、点Aのx座標より、2cmとわかる。よって、△TAC = 6 × 2 ÷ 2 = 6 したがって、6cm²である。
・△BTCの面積について
△TACと同様に辺TCを底辺とすると、6cm。高さは点Bからy軸までの長さなので、4cmである。△BTC = 6 × 4 ÷ 2 = 12 よって、12cm² とわかる。
△ABC = △TAC + △BTC なので、△ABC = 6 + 12 = 18 以上より、△ABCの面積は、18cm² と求められる。
7-4:△ABCと△ABPの面積が等しくなるようなx軸上の点Pの座標を2つ求めなさい。
解答 :P(-1, 0),(-7, 0)
解説 :桃子さんの言葉から、△ABCと△ABPの面積が等しくなるようなx軸上の点Pは2点あることがわかる。
①太郎さんの考えをもとに。
「点Cを通り直線ABと平行な直線を使えば、点Pの座標が求められる」と言っているので、ここでは等積変形の考え方を使うことがわかる。

まず、直線ABの式は y = 2x + 8 なので、点Cを通り直線ABに平行な直線の傾きは 2 とわかる。よって、y = 2x + b に点C(0, 2)を代入すると、2 = 2 × 0 + b → b = 2 よって、点Cを通り直線ABに平行な直線の式は y = 2x + 2 と求められる。
【宿題】より、点Pはx軸上の点なので、 y = 2x + 2 とx軸との交点を求めればよい。x軸は、y = 0 なので、 0 = 2x + 2 → 2x = -2 → x = -1 したがって、点Pの座標の1つは(-1, 0) と計算できる。

②花子さんの言葉をもとに。
花子さんは「y軸上に点Dをとって、△ABCの面積と△ABDの面積が等しくなるようにできる」と言っている。この部分を踏まえて、問3で△ABCの面積を求めた際と同じように考えて、△ABCの面積と等しくなるような△ABDの点Dを考える。TCとDCの長さは6cmなので、点Dの座標は(0, 14)とわかる。

その後、花子さんは「点Dを通り直線ABと平行な直線を使用することでも問題の条件を満たす点Pがx軸上にとれる」と言っているので、点Dを通る直線を求める。直線ABの傾きは 2 で、点D(0, 14)を通るので、点Dを通り直線ABに平行な直線の式は y = 2x + 14 と求められる。
点Pはx軸上の点なので、y = 2x + 14 とy = 0との交点は、0 = 2x + 14 → 2x = -14 → x = -7 よって、点Pの座標のもう1つは(-7, 0)と求められる。

以上より、点Pの2つの座標は(-1, 0)と(-7, 0)である。
■大問8
8-1:線分DFの長さを求めなさい。
解答 :3 cm
解説 :辺DFは△ADFの1辺である。また、△ADFは直角三角形なので、三平方の定理を使えば、辺DFの長さを求めることができる。

AF² = AD² + DF² → (3√5)² = 6² + DF² → 45 = 36 + DF² → DF² = 45 – 36 → DF² = 9 → DF = ±3 DF>0なので、DF = 3 よって、線分DFの長さは3cmと求められる。

8-2:△ADF∽△CEFとなることを証明しなさい。
解答 :[証明]
△ADFと△CEFにおいて、
平行線の錯角は等しいので、∠DAF = ∠ECF・・・①
対頂角は等しいので、∠AFD = ∠CFE・・・②
①、②より、2組の角がそれぞれ等しいので、
△ADF ∽ △CEF [証明終]
解説 :※解答とほぼ重複しています。
[証明]
△ADFと△CEFにおいて、
平行線の錯角は等しいので、∠DAF = ∠ECF・・・①

対頂角は等しいので、∠AFD = ∠CFE・・・②

①、②より、2組の角がそれぞれ等しいので、
△ADF ∽ △CEF [証明終]

8-3:△ABDの面積を求めなさい。
解答 :63/2 cm²
解説 :△ABDの面積を求めるうえで、まずは∠ADBに着目する。
線分ABは円Oの直径なので、円周角の定理より、∠ADB = 90°とわかる。よって、△ABDは直角三角形であり、問題文より辺DAは6cmとわかっている。 よって、辺DBの長さが分かれば、△ABDの面積を求めることができる。

△ADFと△BECにおいて
仮定より DA = EB ・・・①
円周角の定理より、同じ弧からなる円周角は等しいので、
∠DAF = ∠EBC ・・・②
平行線の錯角は等しいので、
∠FDA = ∠CEF・・・③
③より、∠CEB = 180° – ∠CEF = 180° – 90° = 90° ・・・④
③、④より、∠FDA = ∠CEB ・・・⑤
①、②、⑤より、
2組の辺とその間の角は等しいので、△ADF ≡ △BEC


△ADF ≡ △BECよりCE = 3 で、且つ△ADF ∽ △CEFなので、
DA:EC = DF:EF → 6:3 = 3:EF → 6EF = 9 → EF = 9/6 = 3/2

DB = DF + EF + EB なので、DB = 3 + 3/2 + 6 = 9 + 3/2 = 21/2 と求められる。

最後に、△ABDの面積は、△ABD = 21/2 × 6 ÷ 2 = 63/2

以上より、△ABDは 63/2 cm² とわかる。
■大問9
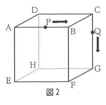
右の図1のように、1辺が8cmの立方体ABCD-EFGHがある。
このとき、次の各問いに答えなさい。

9-1:図1の立方体の体積を求めなさい。
解答 :512 cm³
解説 :立方体の体積は、1辺 × 1辺 × 1辺 で求められる。
図1の立方体の1辺は8cmなので、8 × 8 × 8 = 512 よって、512cm³ とわかる。
9-2:右の図2は、図1の立方体において、2点P、Qがそれぞれ頂点A、Cを同時に出発し、立方体の辺上を動きながら、頂点を移動する様子を示した図である。
点Pは毎秒5cmの速さで立方体の頂点を、 頂点A→頂点B→頂点F→頂点G→頂点C と移動し、点Qは毎秒3cmの速さで立方体の頂点を、 頂点C→頂点G→頂点F→頂点B→頂点A と移動する。
2点P、Qが重なる点をRとし、この立方体を3点B、E、Rを通る平面で切り、頂点Fを含む立体をSとする。
このとき、次の各問いに答えなさい。

9-2(1):2点P、Qが重なるのは出発して何秒後か求めなさい。
解答 :4 秒後
解説 :問題文より、点Pの速さは毎秒5cm、点Qは毎秒3cmである。
よって、図を描いて考えると、2点P、Qが重なるのは出発してから4秒後である。
9-2(2):立体Sの体積を求めなさい。
解答 :128/3 cm³
解説 :問題文より、立体Sは2点P、Qが重なる点をRとし、この立方体を3点B、E、Rを通る平面で切り、頂点Fを含む立体のことである。以下の図より、立体Sは三角錐だとわかる。

△REFの面を底面とすると、辺BFが高さと捉えられる。

よって、8 × 4 × 1/2 × 8 × 1/3 = 16 × 8 × 1/3 = 128/3 したがって、128/3 cm³ と求められる。
9-2(3):立体Sにおいて、△BERを底面としたときの高さを求めなさい。
解答 :4√6/3 cm
解説 :△BERを底面としたとき、点Fから△BERに垂直におろした線が高さとなる。

まずは、△BERに着目し、三平方の定理を活用して△BERの3つの辺の長さを計算する。


・辺BEについて
BE² = BF² + EF² → BE² = 8² + 8² → BE² = 64 + 64 → BE² = 128 → BE = ±√128 → BE = ±8√2 BE>0より、BE = 8√2 とわかる。
・辺BRについて
BR² = BF² + FR² → BR² = 8² + 4² → BR² = 64 + 16 → BR² = 80 → BR = ±√80 → BR = ±4√5 BR>0より、BR = 4√5
・辺ERについて
ER² = EF² + FR² → ER² = 8² + 4² → ER² = 64 + 16 → ER² = 80 → ER = ±√80 → ER = ±4√5 ER>0より、ER = 4√5
点Rから辺BEに垂直に引いた線と、辺BEとの交点をTとおくと、△BERは二等辺三角形なので、BT = 4√2 である。よって、△RBTにおいて三平方の定理を用いて、RTの長さを求める。RB² = RT² + BT² → (4√5)² = RT² + (4√2)² → 80 = RT² + 32 → RT² = 80 – 32 → RT² = 48 RT = ±4√3 RT>0より、RT = 4√3 とわかる。したがって、△BERの面積は、8√2 × 4√3 × 1/2 = 16√6 よって、16√6 cm² と求められる。

立体Sの高さをx とおくと、(2)より立体Sの体積は128/3 cm³ なので、△BER × 立体Sの高さ × 1/3 = 128/3 と式が作れる。よって、16√6 × x × 1/3 = 128/3 → 16√6/3x = 128/3 → 16√6/3x × 3 = 128/3 × 3 → 16√6x = 128 → x = 128 × 1/16√6 → x = 8/√6 → x = 8√6/6 → x = 4√6/3 したがって、立体Sの高さは、4√6/3 cm とわかる。

■大問10
下の図1のように並べられた〇の中に、次の規則にしたがって数を記入する。

・・・・・・・・・・・・・・・・・・・・・・・・・・・・・・・・・・・・・・・・・・
規則1 1段目には2つの自然数 a、b を記入する。
規則2 2段目以降は、左端に a、右端に b を記入し、それ以外は左上の数と右上の数の和を記入する。
・・・・・・・・・・・・・・・・・・・・・・・・・・・・・・・・・・・・・・・・・・
下の図2は、a = 1、b = 2 として、規則にしたがって数を3段目まで記入したときの様子である。

このとき、次の各問いに答えなさい。
10-1:a = 1、b = 2 のとき、4段目に記入される5個の数を左から順に答えなさい。
解答 :1、5、9、7、2
解説 :図2を使って、a = 1、b = 2 のとき、4段目に記入される5個の数を書き込むと、図のようになる。よって、4段目に記入される5つの数は、左から順に1、5、9、7、2 とわかる。

10:夏美さんは a、bを様々な値に変えて1段目から4段目まで数を記入し、その結果を考察し、次の予想した。
・・・・・・・・・・・・・・・・・・・・・・・・・・・・・・・・・・・・・・・・・・
1段目の数 a、bをどのように変えても、次のことが成り立つ。
予想1 2段目の3個の数の和は、1段目の2個の数の和の2倍となる。
予想2 3段目の4個の数の和は、1段目の2個の数の和の4倍となる。
予想3 4段目の5個の数の和は、1段目の2個の数の和の8倍となる。
・・・・・・・・・・・・・・・・・・・・・・・・・・・・・・・・・・・・・・・・・・
真美さんは、まず予想1が成り立つことを次のように説明した。
・・・・・・・・・・・・・・・・・・・・・・・・・・・・・・・・・・・・・・・・・・
予想2の説明
1段目の2個の数を a、bとすると、その和は a、b
2段目の3個の数を a、b を用いて左から順に表すと、a、a + b、b
その和は a + (a + b) + b = 2a + 2b = 2(a + b)
よって、2段目の3個の数の和は、1段目の2個の数の和の2倍となる。
・・・・・・・・・・・・・・・・・・・・・・・・・・・・・・・・・・・・・・・・・・
次に、予想2が成り立つことを次のように説明した。
・・・・・・・・・・・・・・・・・・・・・・・・・・・・・・・・・・・・・・・・・・
予想2の説明
1段目の2個の数を a、bとすると、その和は a、b
3段目の4個の数を a、b を用いて左から順に表すと、a、[ ア ]、[ イ ]、b
その和は a + ([ ア ]) + ([ イ ]) + b = 4a + 4b = 4(a + b)
よって、3段目の4個の数の和は、1段目の2個の数の和の4倍となる。
・・・・・・・・・・・・・・・・・・・・・・・・・・・・・・・・・・・・・・・・・・
10-2:上の[ ア ]、[ イ ]にそれぞれあてはまる最も適する式を答え、真美さんの予想2の説明を完成させなさい。ただし、式は同じ文字の項をまとめ、最も簡単な形で表すこと。
解答 :[ ア ] 2a + b [ イ ] a + 2b
解説 :予想1より、1段目の2個の数を a、bとすると、2段目の3個の数は左から順に a、a + b、b と表せる。このことを踏まえて、3段目の4個の数は以下の図のように表せる。よって、左から順に a、2a + b、a + 2b、b である。

・[ ア ]について
[ ア ]は3段目の、左から2番目の数なので、2a + b とわかる。
・[ イ ]について
[ イ ]は3段目の左から3番目の数で、a +2b である。
10-3:予想3が成り立つことを、1段目の2個の数を a、b とし、4段目の5個の数を aとb を用いて表すことによって説明しなさい。
解答 :(説明)
1段目の2個の数を a、b とすると、その和は a + b
4段目の5個の数を aとb を用いて左から順に表すと、
a、3a + b、3a + 3b、a + 3b、b
その和は、a + (3a + b) + (3a + 3b) + (a + 3b) + b
= 8a + 8b
= 8(a + b)
よって、4段目の5個の数の和は、1段目の2個の数の和の8倍となる。
(説明終)
解説 :※答えと重複する部分も多いです。
予想3は、「4段目の5個の数の和は、1段目の2個の数の和の8倍となる。」という部分である。
1段目の2個の数を a、b とすると、4段目までの数は aとb を用いて図のように表せる。

(説明)
1段目の2個の数を a、b とすると、その和は a + b
4段目の5個の数を aとb を用いて左から順に表すと、
a、3a + b、3a + 3b、a + 3b、b
これらの数の和は、a + (3a + b) + (3a + 3b) + (a + 3b) + b
= a + 3a + b + 3a + 3b + a + 3b +b
= 8a + 8b
= 8(a + b)
1段目の数の和は a + b なので、4段目の数の和の 8(a + b) は、 (a + b)の4倍だとわかる。
したがって、4段目の5個の数の和は、1段目の2個の数の和の8倍といえる。
(説明終)
10-4:a = 18、b = 32 のとき、 1段目から4段目までの〇の中に記入された14個の数の和を求めなさい。
解答 :750
解説 :まずは、1~4段目の、それぞれの和を求める。

・1段目の2個の数の和
1段目の2つの数は aとbなので、a + b = 18 + 32 = 50
・2段目の3個の数の和
2段目の3個の数は、a と a+b と b なので、これらの和は a + (a + b) + b = 2a + 2b = 2(a + b) = 2 × 50 = 100
・3段目の4個の数の和
3段目の4個の数は、左から順に a、2a + b、a + 2b、b である。これらの数の和は、 a + (2a + b) + (a + 2b) + b = a + 2a + b + a + 2b + b = 4a + 4b = 4(a + b) = 4 × 50 = 200
・4段目の5個の数の和
4段目の5個の数の和は、問3より、8(a + b) である。よって、a = 18、b = 32を 8(a + b) に代入して、8(18 + 32) = 8 × 50 = 400
以上より、1~4段目までの14個の数の和は、50 + 100 + 200 + 400 = 750 したがって、750とわかる。
